


Our firm celebrated its Centennial in 2017. We practice exclusively in the area of intellectual property law, which encompasses patents, trademarks, copyrights, trade secrets and related business and litigation issues. For over 100 years, we have represented diverse clients, including Fortune 500 companies and individual entrepreneurs.
Renner Kenner has obtained thousands of patents over the years for our clients. The "This Week in Our History...” section below is an example of a patent that was written and/or prosecuted by Renner Kenner.
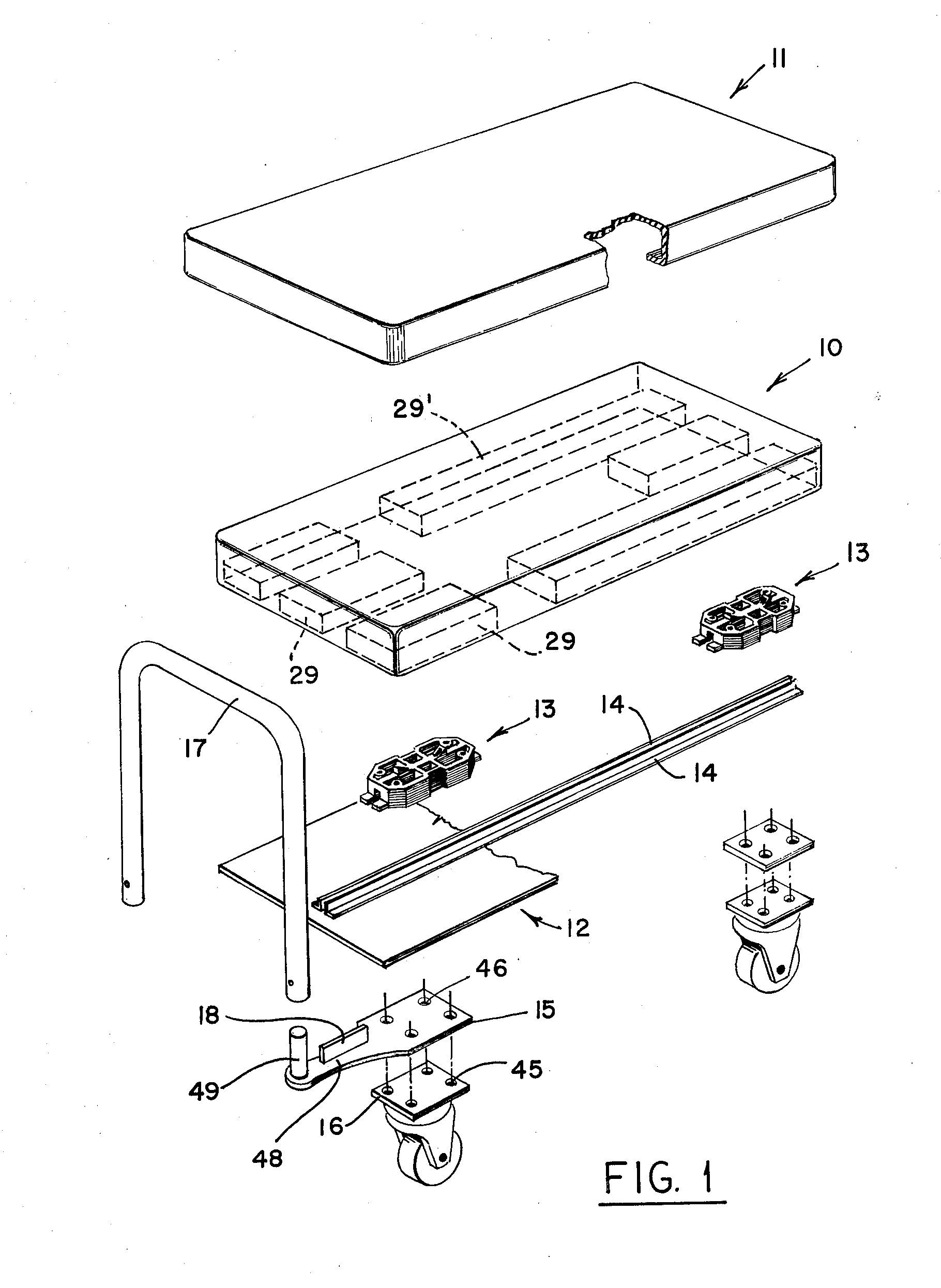
On March 7, 1978, the U.S. Patent and Trademark Office issued U.S. Pat. No. 4,077,644 entitled “Platform Hand Truck” to Rubbermaid Commercial Products Inc. While conventional platform hand trucks were made of wood or metals at that time, the patented invention provided a lightweight, non-absorbent, integrally formed platform truck.

Renner Kenner proudly supports The Positivity Spectrum. The Positivity Spectrum is working to change the conversation and actions around autism. Their fundraising efforts enable them to send autistic children to summer camps with aides, help families on waiting lists for diagnoses, work with businesses to create sensory-friendly hours and special events for autistic children and autistic adults, teach inclusion in our schools, and support caregivers with their free legal clinic. By focusing on practical support and inclusive environments, the goal is to shift the focus from symptom mitigation to empowering autistic people to live their best lives.
Learn more at https://thepositivityspectrum.org/